天天源码 LOGO
首页 综合源码 游戏源码 网站模板 软件工具 AI应用
首页 › 2025修复版标签:
2025年PHP短信轰炸系统源码修复版接口安装教程 封面

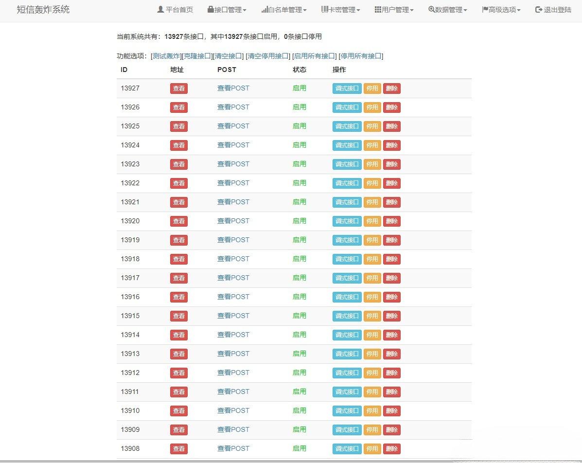
2025年PHP短信轰炸系统源码修复版接口安装教程

2025年最新PHP短信轰炸系统源码,提供修复版接口安装教程,支持短信批量发送与API集成,适用于Web平台,请遵守法律法规使用,提升短信发送效率。

PHP 更新 2025-12-27
共 1 条
© 2026 天天源码 · 保留所有权利
ICP备案号:苏ICP备2025165184号-11 | 服务协议 | 免责声明