jizhiCMS零间隔采集资源网源码 PHP开发
系统介绍
jizhiCMS零间隔采集资源网源码是一个专为资源分享平台设计的完整网站解决方案,它基于jizhiCMS内容管理系统构建,旨在自动化采集和聚合网络上的线报、源码、软件等公开资源。该系统解决了传统资源网站手动更新效率低、内容单一的问题,通过集成蓝天采集工具,实现24小时不间断的内容抓取与导入,确保平台资源丰富且实时更新。其核心价值在于为站长提供一个开箱即用的资源门户,支持快速部署和定制,适用于个人分享、社区运营或商业变现场景,帮助用户降低运营成本并提升内容多样性。
该资源网源码不仅具备强大的采集能力,还采用了高仿新版某刀资源网模板,界面设计现代且用户友好,响应式布局适配多端访问。通过自动化流程,它可以自动从对接的资源站获取最新资讯和源码包,并进行分类整理,方便用户浏览和下载。整体上,这是一个集内容管理、采集引擎和前端展示于一体的综合系统,特别适合需要大量资源聚合的网站,如源码分享站、线报论坛或下载门户。
核心功能
零间隔自动化采集:集成蓝天采集程序,支持全天候不间断地从预对接资源站抓取线报和源码数据,无需人工干预,确保内容实时性。
多类目资源导入:系统可自动将采集到的资源按下载类目进行分类和导入,包括软件、模板、插件等,后台支持自定义类目管理,便于内容组织。
jizhiCMS内容管理:基于jizhiCMS框架,提供完整的文章发布、编辑、审核和删除功能,支持富文本编辑器和SEO元信息设置,优化网站收录。
高仿模板前端展示:采用高仿新版某刀资源网模板,实现响应式设计,适配PC和移动端,界面美观且加载速度快,提升用户体验。
采集规则配置:后台集成蓝天采集规则管理,允许用户自定义采集来源、频率和过滤条件,支持规则导入导出,增强采集灵活性。
资源审核与去重:系统内置内容审核机制,可手动或自动审核采集到的资源,并基于规则进行去重处理,避免内容重复发布。
用户互动功能:支持用户注册、登录、评论和下载记录查看,增强社区互动性,并可集成第三方登录插件如微信登录。
SEO优化支持:内置SEO优化功能,包括自定义URL、站点地图生成、关键词设置和百度推送,提升搜索引擎排名和流量。
技术特性
本资源网源码采用PHP作为主要开发语言,基于jizhiCMS内容管理系统构建,这是一个轻量级且高效的CMS框架,适用于快速开发内容密集型网站。技术架构采用MVC模式,代码结构清晰,便于二次开发和维护。前端使用HTML、CSS和JavaScript,配合响应式模板,确保跨设备兼容性。数据库使用MySQL进行数据存储,支持高效查询和事务处理。集成蓝天采集工具作为数据采集引擎,该工具基于Python或PHP编写,提供强大的爬虫能力和规则解析,可实现多线程采集和反爬处理。系统还支持缓存机制(如Redis)以提升性能,并包含安全防护功能,如SQL注入防护和XSS过滤,保障网站稳定运行。整体代码质量高,模块化设计使得扩展性强,适合技术爱好者或企业进行定制化开发。
运营管理
系统配备完善的后台管理面板,管理员可通过后台轻松配置网站运营。运营管理功能包括:采集规则设置,允许调整采集源和频率;内容审核中心,支持批量审核或拒绝采集到的资源;用户管理模块,可查看用户行为、设置权限和发送通知;数据统计仪表盘,提供PV/UV访问量、资源下载量和用户活跃度报表;SEO配置选项,支持自定义元标签和站点地图提交。此外,后台还支持模板切换、广告位管理和支付接口集成(如支付宝),方便站长进行商业变现。通过自动化工具,运营人员可以大幅减少手动工作量,专注于内容策略和用户增长。
使用说明
部署本资源网源码需要满足以下环境要求:服务器操作系统推荐Linux(如CentOS 7+或Ubuntu 20.04+),Web服务器使用Apache或Nginx,PHP版本需7.0及以上(建议7.4),MySQL数据库版本5.6及以上。安装步骤包括:首先上传源码文件到服务器web目录;然后配置数据库连接信息,运行安装脚本初始化数据;接着进入后台设置采集规则,导入预配置的蓝天采集规则文件;最后,根据需要调整模板和SEO选项。使用过程中,建议定期更新采集规则以适配资源站变化,并监控服务器性能以确保采集任务稳定运行。系统提供详细的使用文档,适合有一定技术基础的站长操作。
一:下载网站源码程序
安装方法:
1、将根目录文件上传服务器
2、将根目录sql.gz导入mysql数据库
3、环境需要支持PHP5.6+(推荐PHP7.2),mysql5.0+
4、配置数据库Conf/config.php 填写数据库账户密码
5、删除根目录安装文件install
6、访问后台:http://域名/admin.php
账户密码都是:admin
7、Nginx服务器需要配置伪静态,宝塔则选择thinkphp,其他Linux服务器配置伪静态:
location / {
if (!-e $request_filename){
rewrite ^(.*)[ Discuz_CODE_1 ]nbsp; /index.php?s=$1 last; break;
}
}
(Apache和IIS不需要手动配置,系统自带)
8、进入后台,扩展管理 - 插件列表 - 找到“Skycaiji采集API接口”,安装并启动,生成API(对接蓝天采集用的,不下载文章发不出去)
安装蓝天采集教程:
1、下载蓝天采集程序(在压缩包里)
2、在你网站程序根目录创建文件夹 命名为:lantiancaiji
3、把蓝天采集源码上传到刚刚创建的lantiancaiji文件夹里面
4、安装路径:http(https)://域名.com(其他)/lantiancaiji
5、进入后台 - 任务 - 任务列表 - 创建任务 - 任务名称(随便起) - 采集模块(看图)

以此类推全部上传完!
采集步骤:
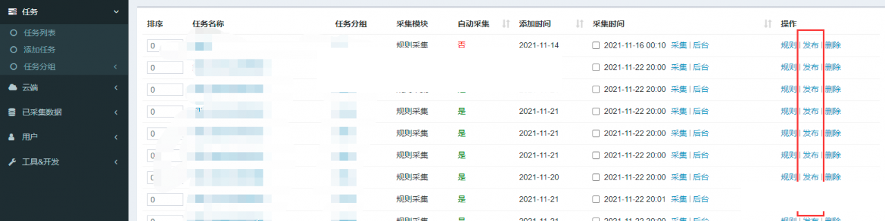
1、如何发布文章
1.1 返回任务列表,找到“发布”
1.2 进入发布,选择“调用接口”
解析:tid = 栏目ID、title = 文章标题、body = 文章内容、downurl = 下载地址

图片演示
